Ask Experts Questions for FREE Help !
Ask
    pwd77's Avatar
    pwd77 Posts: 186, Reputation: 3
    Junior Member
     
    #1

    Jun 27, 2008, 08:47 AM
    deck tables, tributary load, and beam size for deck
    I am confused with "deck tables" from different sources, specifically concerning beam size for a deck.

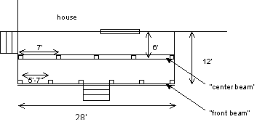
    I am planning a basic deck as shown:

    Name:  more deck beam.png
Views: 24443
Size:  6.3 KB

    Sources that describe the "tributary load" and "tributary length" would allow me to use as little as (1) 2x6 for the "front beam" (tributary width = 3', not even on the charts) and (1) 2x10 or (2) 2x8's for the "middle beam."

    Name:  deck table 1b.jpg
Views: 148031
Size:  36.3 KB
    http://buildingcodes.jocogov.org/doc...eck%20Book.pdf


    More generic tables that just describe "beam span" would call for much more support: (2) 2x8's for the front beam, and (2) 2x10's for the middle.

    Name:  deck table 2b.jpg
Views: 50301
Size:  35.7 KB
    Deck Tables - Deck Building Tables - Building a Deck Tips and Tricks


    The "engineer" in me says I am interpreting the tributary load concept correctly, the first set of beam calculations is adequate, and the front beam is only supporting about 1/2 the load as the middle beam.

    Any enlightenment would be appreciated.
    wildandblue's Avatar
    wildandblue Posts: 663, Reputation: 57
    Senior Member
     
    #2

    Jun 27, 2008, 01:05 PM
    The center beam carries half the load, the front beam and the connection to the house each carry one fourth of it.
    wildandblue's Avatar
    wildandblue Posts: 663, Reputation: 57
    Senior Member
     
    #3

    Jun 27, 2008, 01:06 PM
    Me I would get rid of the whole center row of posts, put a double 2x10 on the front and use 2x8's for my joists. I have built barns this way holding up tons of hay.
    pwd77's Avatar
    pwd77 Posts: 186, Reputation: 3
    Junior Member
     
    #4

    Jun 27, 2008, 09:38 PM
    thanks for the comments

    My main goal is to understand the tables so I can design a deck that follows typical building codes.

    I actually have a reason to keep the front beam a single 2x; I am extending the posts up for a sun cover, and do not want to notch the post more than once to keep the thickness. There is not a lot of info out there on this, so I am playing it safe.
    wildandblue's Avatar
    wildandblue Posts: 663, Reputation: 57
    Senior Member
     
    #5

    Jun 28, 2008, 08:04 AM
    You can just use taller posts, place the double 2x one on each side of the post at the elevation for your deck, then place the suncover support attachment further up. If you have trouble finding posts long enough, use a post that comes up to the double 2x10, place the 2x10s sticking up an inch or two above this post. This will form a nice little pocket for you to drop your second story post down into and hold it in place by nailing the 2x8 joists to the side of it.

Not your question? Ask your question View similar questions

 

Question Tools Search this Question
Search this Question:

Advanced Search

Add your answer here.


Check out some similar questions!

Craftsman 2 lawn tractor v-belt for drive not mower deck size [ 3 Answers ]

I need to know the belt size for a craftsman 2 lawn tractor model# 917255911. The drive belt not the mower deck belt.

Deck support post size [ 5 Answers ]

I am building a 12' X 18' foot deck with pressure treated lumber. The 18' will be along the house with 12' joists out from there. I can not find what is required as far as post size. The deck will be 12' high and I planned on using four 4"X6" posts under the beam for support. That will be a post...

I need to replace my deck belt on my troybilt 17hr. 42' deck belt diagram [ 4 Answers ]

I need to replace my deck belt on troybilt 17hr. 42' riding lawnmover. Be nice to have a diagram

Beam, post size and connection for semi-covered deck [ 10 Answers ]

I am building a deck with a pergola cover, and would like some advice on size of post, and connection of beam to post. The attached picture shows the basic layout. I plan to put a support beam underneath through the middle (easy), so the effective joist span is only 6'. The front header/beam is...

How to keep second floor deck from dripping water onto first floor deck [ 5 Answers ]

We are planning to build a second floor deck over an existing deck. Will be 16 x 12 when finished. My question is this. We don't want the upper deck to allow water to drip onto the lower deck when raining. How can this be prevented? I want to use 5/4 decking on top, but don't see how we can do that...


View more questions Search